近年來,由于國家對于環保的高度重視,工業生產中高濃度有機廢水不可隨意排放,可以通過一種新型水處理技術—催化濕式氧化法來進行綜合治理,該法是指在高溫、高壓下,以富氧氣體或氧氣為氧化劑,利用催化劑的催化作用,使廢水中的有機物及含S、N等氧化成CO2,N2,SO2,H2O,達到凈化水的目的。本文設計討論的是其工藝裝置中的1臺一級U形管換熱器,設備內徑為ID600換熱器參數如下:

1、 選用材料
殼程殼體采用TA10+Q345R爆炸復合板,其中TA10材料在GB/T 3621-2007 《鈦及鈦合金板材》中分為A、B兩類,B類板材的常溫抗拉強度、屈服強度比A類小,更容易進行爆炸復合,所以用于爆炸復合板時,需注明采用B類,否則正常供貨按A類,爆炸復合板不合格率會大大提高。
殼程其他材料如:拉桿、定距管、折流板均采用TA10。管程采用平蓋封頭襯鈦結構,管板、換熱管TA10分別滿足GB/T16598-2013《鈦及鈦合金餅和環》、GB/T3625-2007《換熱器及冷凝器用鈦及鈦合金管》。連接的緊固件為35CrMoA,螺母為30CrMoA;墊片為帶覆蓋層的金屬齒形組合墊,齒形金屬環材料為TA10,覆層材料為柔性石墨墊片m=3.5,y=45MPa。
2、 強度計算
(1)鈦作為耐腐蝕層厚度常為2~4mm,在復合板筒體中一般不參與強度計算,設備的承壓主要是基層殼體。
(2)爆炸復合管板計算。由于我們通常采用SW6計算軟件,復層不參與計算,軟件輸入的是管板基層材料,對于換熱管與管板連接采用焊接連接的換熱管的許用拉脫力,應為復層與換熱管材料在設計溫度下兩者中小值的0.5倍,而軟件判斷的是參與計算的基層與換熱管材料在設計溫度下兩者中小值的0.5倍,這需要特別注意。而本次設計的結構為BEU形管熱交換器,管板采用的是純TA10材料與換熱管同材質,不存在拉脫力判斷錯誤問題。
(3)對于接管中的鈦襯管,如果設備內有負壓需要考慮襯管的外壓失穩計算,本臺設備無外壓,可以忽略。
3 、設計結構
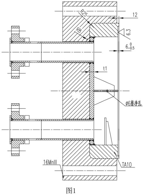
(1)管箱設計
管程壓力及溫度較高,為了節約成本,管箱采用襯鈦結構(圖1)。其中襯鈦部分由底板及鈦環組成,焊接采用全焊透結構,圖中t1的最小計算厚度需要滿足接管上的外載荷及內部壓力的強度要求。碳鋼部分是承受壓力的主體,采用碗形鍛件。

管箱深度不小于進口接管內徑的1/3,為了減少進口接管對換熱管管頭的沖刷,增加了防沖擋板。管箱分程隔板采用了帶加強筋結構進行優化。
(2)管束
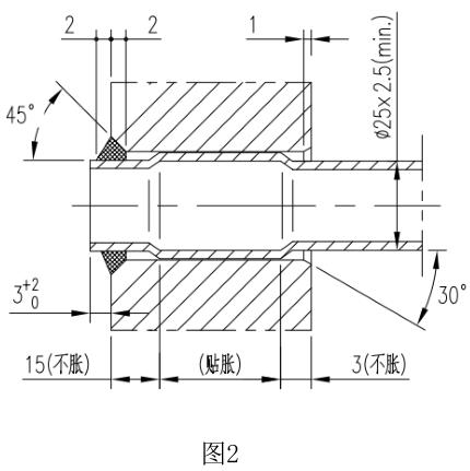
①換熱管與管板連接結構
鈦材的強度和彈性模量隨著溫度的升高而有較大幅度的降低,且在常溫下有蠕變傾向,使換熱管和管板的脹接殘余應力松弛,易引起泄漏,所以一般不推薦使用強度脹接。鈦換熱管一般采用焊接連接,焊接比強度脹接更能保證強度及密封性能。但管板和換熱管之間總有縫隙存在,這樣最容易產生縫隙腐蝕。為此采用貼脹加焊接結合的連接方式效果實踐證明比較好,既提高了接頭的抗疲勞性能,又可消除應力腐蝕破裂和縫隙腐蝕,本設計采用的是此結構(圖2)。

鈦的導熱系數小,是碳素鋼的1/4,銅的1/25,一般選用的換熱管為薄壁管。換熱管與管板焊接時會產生較大的熱應力,管端焊縫還需要承載內壓產生的拉脫力,加上進口管的高壓氣流吹掃,管端焊縫經過沖刷,表面無損檢測無法發現的微觀裂紋,就會暴露出來,大大降低連接強度,可能導致焊縫破壞。我們通常的做法是管端不熔,管頭伸出管板面至少3mm,在焊縫破壞之前,讓管頭承受沖擊,以提高設備的使用壽命。
鈦材的屈強比較高,斷面收縮率較低,延伸性差,不易產生較大變形,為防止脹管開裂,管板開孔直徑應盡量采用小的孔徑,小的偏差,需要滿足GB/T 151-2014表6-15的要求。
②U形管設計
U形管的最小彎曲半徑為2d(d為換熱管外徑),前期與換熱管彎制廠家溝通確認無問題后,最終確定;因鈦管一般較薄,JB/T4745-2002中10.2.6.2條規定彎管外圓弧處的壁厚減薄量不應超過17%的名義厚度。U形管存在一定量的回彈性,管束設計時,最后一塊折流板面與U形管直管段切線距離最少保證30mm以上的距離。彎制成形后的U形管一般不做熱處理。
③折流板
對于鈦制換熱器來說,折流板的設計需引起重視。首先由于鈦材的摩擦系數大,易產生粘連性等特性。當折流板是鈦材時,設計時應慎重考慮與鈦材換熱管間的相互摩擦作用。通過工藝計算,優化設備結構,減少管束振動,從而消除摩擦。折流板孔的兩端面應嚴格進行倒角,不允許有銳角出現,否則換熱管很容易被穿管時劃傷、使用過程中磨損破裂。另外要注意孔徑的大小,不能太小但也不是大了就好,因為太大(如間隙0.4mm)時會有高速液流沖刷管子,使管子發生沖刷腐蝕,折流板孔徑大小需要按GB/T 151-2014表6-28設計。
(3)殼程結構設計
①殼程筒體A、B類焊縫對接結構,殼程的最高工作溫度為105℃,工作壓力為8.4MPa,且換熱管束需要抽插,最終我們采用了如圖3的平貼條結構(圖3)。優點是耐壓、便于制造、安裝及使用。缺點是耐高溫性能不好,不過經過我們多年經驗積累發現并經計算得知,如果設備內介質的工作溫度低于220℃,采用平貼條結構可以使用。

在焊接基層A、B類對接接頭時,先采用機械方法剔除焊接接頭兩側各15mm的鈦復層,防止基層金屬熔焊到鈦復層中,同時也可以防止鈦復層因溫度過高發生氧化。基層焊接完畢,將容器內側的基層焊縫磨平并經無損檢測合格后,放置一塊鈦墊條,鈦墊條與鈦復層間點焊固定。然后在鈦墊板上覆蓋一層鈦貼條,鈦貼條和鈦覆層之間進行角焊縫連續焊接。
②T形接頭。
在焊接墊條前,先鉆墊條腔檢漏孔φ6,只鉆通基層(圖4)。墊條腔檢漏孔的設置在筒體縱環焊縫上,由于本臺設備直徑不大在縱縫兩端進行隔腔,縱環丁字焊縫處可以不分腔。墊條與復層點焊固定,分腔處附近的墊條與墊條、墊條與復層需要焊接。銀釬焊后的區域墊上δ3×10×30大小的鈦板,分腔處銀釬焊封焊一圈,與以往結構相比銀釬焊面積相對增加,而且相當于雙層隔斷,效果更好。然后組裝并焊接相關的縱焊縫和環焊縫貼條,注意環縫貼條與縱縫連接處留25mm不焊,使蓋板與環縫貼條共腔,不留死區連續焊。貼條焊接完成,蓋板組焊前,先進行貼條腔檢漏。T形接頭的組裝順序見圖5。

③檢漏孔
在鈦制復合板設備的縱、環焊縫T形接頭處、法蘭接管上等外接件與殼體連接的轉角處應設置檢漏孔,確保每個腔至少有兩個檢漏孔,每個腔的長度不大于8m。其檢漏孔的作用有:(1)在焊接時,使所有處于高溫焊接部位的鈦材得到氬氣的有效保護,防止氧化。(2)用于檢驗制造過程中貼條與復層處的焊縫是否存在泄漏。(3)用于檢驗設備在役使用期間是否產生漏點,提前預警。
④接管與殼體焊接結構
對于襯鈦設備的管口,一般法蘭采用WN或LWN,襯管外徑與接管內徑單邊間隙小于等于0.5(圖6)。在接管焊接接頭與殼體復合處,剔出超過焊縫坡口5mm,用鈦墊條實配填充完整并點焊固定,保證鈦墊條的表面與覆層鈦材的表面齊平。接管根部附近的鈦襯里應搭接在殼體的復層鈦之上,搭接長度一般為80~100mm。在基層上的低點及接管處高點分別鉆兩個φ6的檢漏孔。鋼管的內表面需處理干凈光潔后,與鈦襯里預組裝,直到緊貼為止,方可進行接管與殼體的焊接。為了減少襯鈦接管與殼體連接處焊接接頭的最大應力,保證交接處有足夠的撓性,設計時應加以重視,必要時需要加以核算。本設備因溫度及壓力較高,采用的是帶翻邊結構(圖7),其中R的選取根據接管公稱直徑來定(DN≤40,R=12;DN≤150,R=19;DN≤500,R=25;DN>500,R=32)。

⑤法蘭密封面連接結構
接管法蘭密封面通常采用碳鋼法蘭襯鈦的方法。碳鋼法蘭承受螺栓緊固載荷及相連管道載荷,鈦材層僅作為耐腐蝕的密封面。在鈦層非密封面上均勻設置一定數量的鈦制沉頭螺釘與碳鋼法蘭連接,螺釘所在的圓為法蘭螺栓圓,鈦制沉頭螺釘與鈦材之間用氬弧焊密封之后進行機械加工密封面,滿足圖紙密封面的機加工要求,此類結構主要用于設備工作壓力、溫度及使用工況要求不高的場合。因本臺設備工作壓力大、溫度高及工況復雜,我們采用了爆炸復合板密封面結構(圖8)。設備法蘭的密封面結構采用與接管法蘭密封面同樣的結構,而法蘭與筒體連接結構(圖9)。

⑥折流板與筒體間防短路設計
殼程筒體由于帶有縱環焊縫的貼條及T形蓋板,因此折流板的外徑比GB/T 151規定的外徑基礎上扣除2倍的貼條厚度。折流板缺口處不焊接防短路墊板(圖10)。其中抽插管束中于設備內部殼體鈦蓋板相干涉的折流板修割缺口。

4、 其他要求 熱氣循環試驗
由于鈦的線膨脹系數小于碳鋼和低碳鋼,而且鈦鋼復合板設備內鈦的焊縫較多,使鈦的復層焊縫在加熱時始終處于受拉伸應力狀態。另外鈦在焊接過程中因材料本身及焊接方面的原因也會存在焊縫缺陷,極易使鈦焊縫產生開裂,從而造成滲漏。因此對比較重要的核心復層焊縫設備進行熱氣循環試驗,防止設備在使用過程中出現不可預測質量事故。根據我公司工藝部門內部制定的熱氣循環試驗操作程序,以設計壓力、設計溫度、氮氣為工作介質進行試驗,試驗結果一次合格。

5、 結語
因鈦材的自身特性,決定了其有很多技術要點值得注意。設計人員應充分結合實際制造中的要求,在材料、設計、制造及過程檢測等方面進行綜合考慮,確保鈦制設備在設計使用年限內安全可靠。本文根據筆者幾年前審核的一臺鈦制U形管換熱設備的實踐經驗,提出了一些設計中應注意的事項,供同行討論。目前此設備在役使用狀況良好。
參考文獻
[1] JB/T 4745-2002,鈦制焊接容器[S].
[2] GB /T 151-2014,熱交換器[S].
[3] 黃嘉琥,應道宴等編. 鈦制化工設備[M].北京:化學工業出版社,2002.
[4] NB/T 47002.1~4-2009,壓力容器用爆炸焊接復合板[S].
相關鏈接